
脉冲式气流混合机
产品介绍: YW-QLHHJ型脉冲式气流混合机是采用压缩空气作为动力源,压缩空气经过混合头上的模具喷嘴进入混合机筒体中,气流经过模具喷嘴带动物料沿着一定的轨道螺旋式上升,物料在混合筒体中形成流态化混合状态,通过脉冲的形式,反复动作,物料既能充分快速均匀混合。
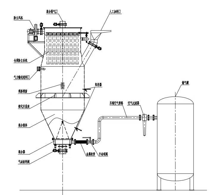
产品介绍:
YW-QLHHJ型脉冲式气流混合机是采用压缩空气作为动力源,压缩空气经过混合头上的模具喷嘴进入混合机筒体中,气流经过模具喷嘴带动物料沿着一定的轨道螺旋式上升,物料在混合筒体中形成流态化混合状态,通过脉冲的形式,反复动作,物料既能充分快速均匀混合。
原理:

脉冲式气流混合机特点:
1. 速度快、混合量大、耗能低、无机械传动、无粉尘、无污染。
2. 装填系数为全容积的60%-65%。
3. 使用简单,自动化程度高,PLC控制。
4. 高效节能,单位混合能耗远低于机械混合。
参数:


更多产品




